Logo Море(!) аналитической информации!
IT-консалтинг Software Engineering Программирование СУБД Безопасность Internet Сети Операционные системы Hardware

Apple запатентовала технологию захвата для VR в духе Lytro

В недавно опубликованном патенте Apple, поданном ещё в сентябре 2019 года, подробно описывается система захвата объёмных панорам на основе теории светового поля (подобная применяется в камерах Lytro), которая, по-видимому, предназначена для использования в будущих устройствах iPhone и iPad. Эта технология позволит обычному потребителю снимать объёмные сцены.

Полученный таким способом контент может быть воспроизведён и просмотрен на устройстве или с использованием гарнитуры виртуальной реальности. Патент подробно описывает технологию, которая будет опираться на текущие усилия компании в области дополненной реальности, позволяя её потребительским устройствам снимать сложные трёхмерные сцены.

Чтобы осуществить захват, пользователям нужно будет определённым образом смещать свой iPhone или iPad, оснащённый массивом камер светового поля: например, перемещая устройство в виде символа бесконечности, чтобы захватывать изображения окружающего пространства под разными углами.

Блок-схема, представленная в патенте, которая показывает процесс захвата, обработки и просмотра полученных изображений

Блок-схема, представленная в патенте, которая показывает процесс захвата, обработки и просмотра полученных изображений

Механизм визуализации будет превращать отдельные изображения в 3D-панораму с шестью степенями свободы (6DOF). В результате зритель будет иметь возможность смотреть на объекты под разными углами. Патент был оформлен после поглощения в 2018 году компанией Google компании Lytro, занимавшейся продвижением таких технологий на массовый рынок.

В отличие от обычных камер, массив датчиков светового поля позволяет записывать не только информацию о цвете и интенсивности света, но также и вектор направления света в каждой точке изображения, тем самым получая более полную информацию о снимаемом сюжете, нежели обычная камера. Для захвата 3D-сцен это может быть отличным вариантом.

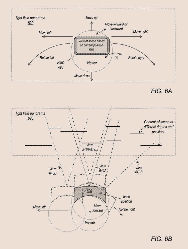
Патент также упоминает, что система Apple может использовать датчики iPhone и iPad для захвата положения устойства, его движений и других подобных метаданных вместе с изображениями с камер — совмещая эту информацию, можно будет получать более точные панорамы. Этот метод реконструкции сцены существенно отличается от традиционной 360-градусной панорамы, которая снимается из одной точки, позволяя зрителю только перемещать голову в визуализированной трёхмерной сцене. Панорамы, полученные камерами светового поля, будут более реалистичными, сохраняя объекты в правильном положении, когда пользователь перемещается по сцене.

Ни для кого не секрет, что Apple уделяет большое внимание технологиям дополненной реальности: например, ключевым новшеством последней модели iPad Pro стала интеграция лидара в массив камер. Датчик измеряет расстояния до объектов, которые находятся на удалении до 5 метров.

Несколько возможных движений, которые можно использовать для захвата панорамы с помощью мобильного устройства Apple

Несколько возможных движений, которые можно использовать для захвата панорамы с помощью мобильного устройства Apple

Будущее расширение возможностей дополненной и виртуальной реальности с использованием технологии светового поля не стало бы большим сюрпризом, особенно в свете бытующих слухов о работе Apple над гарнитурой AR/VR. Впрочем, патент вовсе не означает, что технология будет выведена на рынок в обозримом будущем.

3DNews

Бесплатный конструктор сайтов и Landing Page

Хостинг с DDoS защитой от 2.5$ + Бесплатный SSL и Домен

SSD VPS в Нидерландах под различные задачи от 2.6$

VPS в России, Европе и США

Бесплатная поддержка и администрирование

Оплата российскими и международными картами

Новости мира IT:

Архив новостей

IT-консалтинг Software Engineering Программирование СУБД Безопасность Internet Сети Операционные системы Hardware

Информация для рекламодателей PR-акции, размещение рекламы — adv@citforum.ru Пресс-релизы — pr@citforum.ru
Обратная связь
Информация для авторов
Rambler's Top100 TopList This Web server launched on February 24, 1997
Copyright © 1997-2000 CIT, © 2001-2019 CIT Forum
Внимание! Любой из материалов, опубликованных на этом сервере, не может быть воспроизведен в какой бы то ни было форме и какими бы то ни было средствами без письменного разрешения владельцев авторских прав. Подробнее...