Logo Море(!) аналитической информации!
IT-консалтинг Software Engineering Программирование СУБД Безопасность Internet Сети Операционные системы Hardware

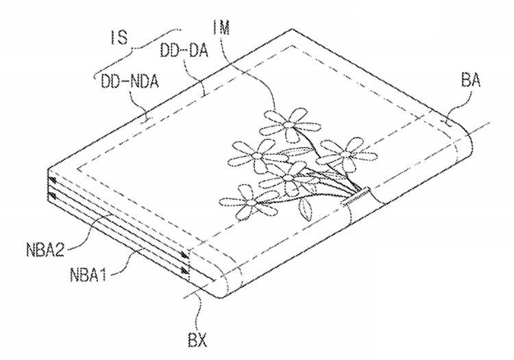
В Samsung запатентовали очередное устройство с гибким дисплеем

Управление США по патентам и торговым маркам (USPTO) выдало компании Samsung патент на новое устройство, оснащённое гибким дисплеем (Flexible display device).

Заявка на изобретение была направлена в ведомство ещё в октябре 2016 года, но на сайте USPTO документ обнародован только в текущем месяце.

Как можно видеть на иллюстрациях, южнокорейский гигант проектирует гаджет в форм-факторе книжки. У такого устройства гибкий экран будет опоясывать внешнюю часть корпуса.

Дисплей, по сути, состоит из трёх секций. Две из них в сложенном состоянии оказываются во фронтальной и тыльной частях аппарата. Третья — центральная — секция формирует изгиб наподобие корешка книги.

В разложенном состоянии пользователь получает доступ к большому экрану. Таким образом, можно, скажем, трансформировать смартфон в полноценный планшетный компьютер.

О том, когда устройство с описанной конструкцией может появиться на коммерческом рынке, пока ничего не сообщается.

По оценкам Canalys, в текущем году по всему миру будет реализовано менее 2 млн гибких смартфонов. Пока такие устройства будут пользоваться ограниченным спросом из-за высокой цены. К тому же остаются вопросы к надёжности и долговечности этих аппаратов.

3DNews

Бесплатный конструктор сайтов и Landing Page

Хостинг с DDoS защитой от 2.5$ + Бесплатный SSL и Домен

SSD VPS в Нидерландах под различные задачи от 2.6$

VPS в России, Европе и США

Бесплатная поддержка и администрирование

Оплата российскими и международными картами

Новости мира IT:

Архив новостей

IT-консалтинг Software Engineering Программирование СУБД Безопасность Internet Сети Операционные системы Hardware

Информация для рекламодателей PR-акции, размещение рекламы — adv@citforum.ru Пресс-релизы — pr@citforum.ru
Обратная связь
Информация для авторов
Rambler's Top100 TopList This Web server launched on February 24, 1997
Copyright © 1997-2000 CIT, © 2001-2019 CIT Forum
Внимание! Любой из материалов, опубликованных на этом сервере, не может быть воспроизведен в какой бы то ни было форме и какими бы то ни было средствами без письменного разрешения владельцев авторских прав. Подробнее...