Logo Море(!) аналитической информации!
IT-консалтинг Software Engineering Программирование СУБД Безопасность Internet Сети Операционные системы Hardware

Гибкий и прозрачный: LG проектирует уникальный смартфон

Управление США по патентам и торговым маркам (USPTO) выдало компании LG Electronics патент на так называемый «Мобильный терминал» (Mobile terminal).

В документе речь идёт об уникальном смартфоне. Он, по задумке южнокорейской компании, получит гибкую конструкцию и прозрачный дисплей.

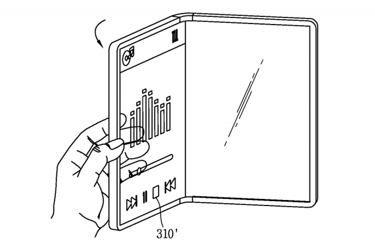
Отмечается, что гибкие экраны расположатся как спереди, так и сзади. Такое исполнение теоретически позволит реализовать самые разнообразные сценарии использования.

В сложенном состоянии устройство будет напоминать книжку. Раскрыв гаджет, владелец получит в своё распоряжение планшет с возможностью отображения информации во фронтальной и тыльной частях.

Степень прозрачности дисплея будет изменяться в зависимости от режима использования. Её можно свести к минимуму для работы с гаджетом в привычном режиме.

В случае же, если прозрачность превышает 20 %, тыльная часть аппарата превращается в сенсорную панель управления. Пользователь сможет видеть через смартфон свои пальцы на задней стороне устройства и взаимодействовать таким образом с контентом на экране.

Заявка на патент была подана ещё в конце 2015 года, но выдан он только сейчас. Разумеется, пока гибкий прозрачный смартфон LG — это не более чем концепция. Но патент позволяет получить представление о том, в каком направлении работает корейская компания. 

3DNews

Бесплатный конструктор сайтов и Landing Page

Хостинг с DDoS защитой от 2.5$ + Бесплатный SSL и Домен

SSD VPS в Нидерландах под различные задачи от 2.6$

VPS в России, Европе и США

Бесплатная поддержка и администрирование

Оплата российскими и международными картами

Новости мира IT:

Архив новостей

IT-консалтинг Software Engineering Программирование СУБД Безопасность Internet Сети Операционные системы Hardware

Информация для рекламодателей PR-акции, размещение рекламы — adv@citforum.ru Пресс-релизы — pr@citforum.ru
Обратная связь
Информация для авторов
Rambler's Top100 TopList This Web server launched on February 24, 1997
Copyright © 1997-2000 CIT, © 2001-2019 CIT Forum
Внимание! Любой из материалов, опубликованных на этом сервере, не может быть воспроизведен в какой бы то ни было форме и какими бы то ни было средствами без письменного разрешения владельцев авторских прав. Подробнее...