Logo Море(!) аналитической информации!
IT-консалтинг Software Engineering Программирование СУБД Безопасность Internet Сети Операционные системы Hardware

В Samsung придумали гибкий смартфон со съёмной камерой

Управление США по патентам и торговым маркам (USPTO) выдало компании Samsung патент на смартфон с очень необычной конструкцией.

Речь идёт об аппарате с гибким корпусом. Причём как можно видеть на иллюстрациях, сопровождающих документ, устройство сможет изгибаться в двух местах — в верхней и нижней частях корпуса.

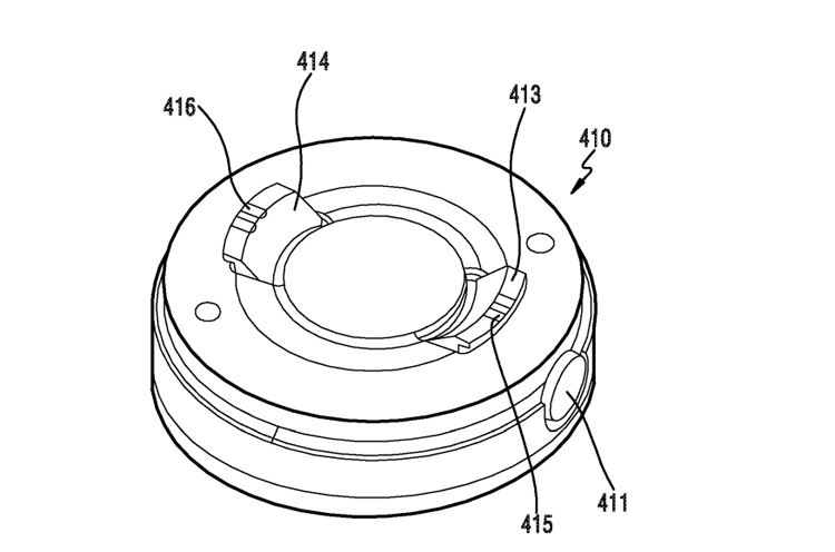
Главной же особенностью новинки станет съёмная основная камера. Благодаря специальному креплению пользователи смогут подсоединять оптический блок тогда, когда это необходимо.

Теоретически такой подход позволит устанавливать различные объективы для съёмки в тех или иных условиях. Кроме того, будет возможно применение оптики с трансфокацией в большом диапазоне.

Изображения говорят о том, что съёмный объектив имеет довольно большие размеры. Поэтому на практике такое решение может оказаться спорным.

Впрочем, пока необычный смартфон Samsung существует только на бумаге. О возможных сроках его появления на коммерческом рынке ничего не сообщается. Вероятнее всего, устройство останется дизайнерской разработкой. 

3DNews

Бесплатный конструктор сайтов и Landing Page

Хостинг с DDoS защитой от 2.5$ + Бесплатный SSL и Домен

SSD VPS в Нидерландах под различные задачи от 2.6$

VPS в России, Европе и США

Бесплатная поддержка и администрирование

Оплата российскими и международными картами

Новости мира IT:

Архив новостей

IT-консалтинг Software Engineering Программирование СУБД Безопасность Internet Сети Операционные системы Hardware

Информация для рекламодателей PR-акции, размещение рекламы — adv@citforum.ru Пресс-релизы — pr@citforum.ru
Обратная связь
Информация для авторов
Rambler's Top100 TopList This Web server launched on February 24, 1997
Copyright © 1997-2000 CIT, © 2001-2019 CIT Forum
Внимание! Любой из материалов, опубликованных на этом сервере, не может быть воспроизведен в какой бы то ни было форме и какими бы то ни было средствами без письменного разрешения владельцев авторских прав. Подробнее...