Logo Море(!) аналитической информации!
IT-консалтинг Software Engineering Программирование СУБД Безопасность Internet Сети Операционные системы Hardware

Samsung проектирует смартфон с расширяемым дисплеем

Управление США по патентам и торговым маркам (USPTO) выдало компании Samsung патент на «устройство с расширяемым дисплеем» (Expandable display device).

Иллюстрации говорят о том, что южнокорейский гигант проектирует смартфон, площадь экрана которого пользователи смогут изменять в зависимости от текущих потребностей и выполняемых задач.

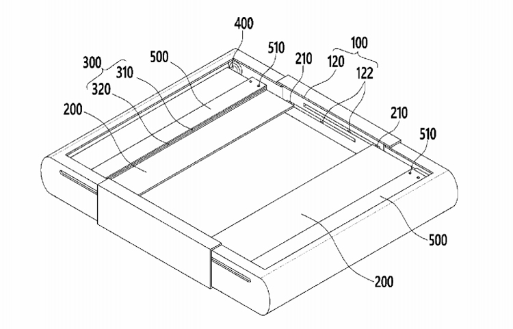
Устройство получит гибкий дисплей и раздвижной корпус с особым роликовым механизмом. Такая конструкция позволит заворачивать или разворачивать боковые части экрана, меняя тем самым его полезную область.

В результате, в сложенном виде гаджет будет по размерам сопоставим с довольно компактным смартфоном. Раздвинув корпус, владелец сможет трансформировать устройство в мини-планшет.

Как можно видеть на изображениях, в зависимости от режима работы изменяется пользовательский интерфейс: в частности, оптимизируется расположение пиктограмм приложений.

Заявка на патент была подана осенью 2017 года, а зарегистрирован он в последних числах прошлого месяца. Samsung не уточняет, когда подобное устройство может появиться на коммерческом рынке. 

3DNews

Бесплатный конструктор сайтов и Landing Page

Хостинг с DDoS защитой от 2.5$ + Бесплатный SSL и Домен

SSD VPS в Нидерландах под различные задачи от 2.6$

VPS в России, Европе и США

Бесплатная поддержка и администрирование

Оплата российскими и международными картами

Новости мира IT:

Архив новостей

IT-консалтинг Software Engineering Программирование СУБД Безопасность Internet Сети Операционные системы Hardware

Информация для рекламодателей PR-акции, размещение рекламы — adv@citforum.ru Пресс-релизы — pr@citforum.ru
Обратная связь
Информация для авторов
Rambler's Top100 TopList This Web server launched on February 24, 1997
Copyright © 1997-2000 CIT, © 2001-2019 CIT Forum
Внимание! Любой из материалов, опубликованных на этом сервере, не может быть воспроизведен в какой бы то ни было форме и какими бы то ни было средствами без письменного разрешения владельцев авторских прав. Подробнее...